QR Code
03-20558272
Χρυσ. Καβουνίδης

Ηλεκτρολογικό Σχέδιο Γ' τάξη Τεχνικού Λυκείου
[1981]

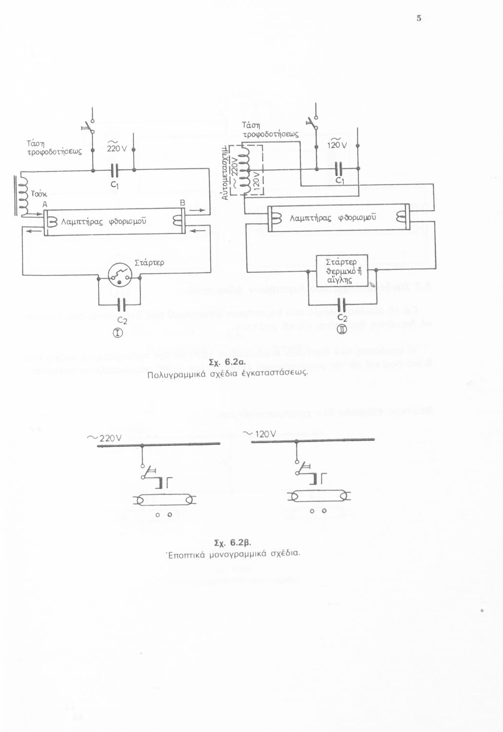
Σχολικό εγχειρίδιο Ηλεκτρολογικού ΣχεδίουΓ' Τεχνικού Λυκείου που περιέχει υποδειγματικά σχέδια ηλεκτρικών εφαρμογών.


TopΠΕΔΙΟ ΑΝΑΓΝΩΡΙΣΗΣ

Κωδικός αναγνώρισης: 03-20558272

Τίτλος: Ηλεκτρολογικό Σχέδιο Γ' τάξη Τεχνικού Λυκείου

Συγγραφέας: Χρυσ. Καβουνίδης

Μέγεθος και υπόστρωμα: Σχολικό εγχειρίδιο, μαλακό εξώφυλλο, 168 σελίδες. Εικόνες, σκίτσα ασπρόμαυρα.

TopΠΕΔΙΟ ΠΕΡΙΕΧΟΜΕΝΟΥ

Βαθμίδα εκπαίδευσης: Δευτεροβάθμια

Τάξη: Γ' Τεχνικού Λυκείου

Μάθημα: Ηλεκτρολογικό Σχέδιο

Γλώσσα: Δημοτική

Παρουσίαση περιεχομένου: Σχολικό εγχειρίδιο Ηλεκτρολογικού ΣχεδίουΓ' Τεχνικού Λυκείου που περιέχει υποδειγματικά σχέδια ηλεκτρικών εφαρμογών.

TopΠΕΔΙΟ ΠΛΗΡΟΦΟΡΙΩΝ ΕΚΔΟΣΗΣ

Εκδότης: Ίδρυμα Ευγενίδου

Έτος έκδοσης: 1981

Τόπος έκδοσης: Αθήνα

Έτος έγκρισης: 1981

TopΠΕΔΙΟ ΠΑΡΑΤΗΡΗΣΕΩΝ

Εντοπισμός πρωτοτύπου: Βιβλιοθήκη της Βουλής των Ελλήνων

Κωδικός βιβλιοθήκης: 20558272

TopΕΥΡΕΤΗΡΙΟ ΘΕΜΑΤΙΚΩΝ ΟΡΩΝ

Σχετιζόμενα πρόσωπα:

Σχετιζόμενοι όροι:


180 εγγραφές [1 - 20]
Εξώφυλλο
Εξώφυλλο
Εξώφυλλο
Εξώφυλλο
Εξώφυλλο
Εξώφυλλο
Εξώφυλλο
Εξώφυλλο
Εξώφυλλο
Εξώφυλλο
Σελίδα #001
Σελίδα #002
Σελίδα #003
Σελίδα #004
Σελίδα #005
Σελίδα #006
Σελίδα #007
Σελίδα #008
Σελίδα #009
Σελίδα #010
Σελίδα #011
Σελίδα #012
Σελίδα #013
Σελίδα #014
[Σχολικό Εγχειρίδιο]
Σ. Κοντοράβδης
Τάξη:  Γ' Τεχνικού Λυκείου
Σχολικό εγχειρίδιο Ηλεκτρολογικού ΣχεδίουΓ' Τεχνικού Λυκείου που περιέχει υποδειγματικά σχέδια ηλεκτρικών εφαρμογών.
[Σχολικό Εγχειρίδιο]
Χρυσ. Καβουνίδης
Τάξη:  Β' Τεχνικού Λυκείου
Σχολικό εγχειρίδιο Ηλεκτρολογικού Σχεδίου Β' Τεχνικού Λυκείου που αποτελεί εισαγωγή στο τεχνικό και ηλεκτρολογικό σχέδιο και παρουσιάζει τη σύνθεση και διάταξη των διαφόρων ηλεκτρικών κυκλωμάτων.
[Σχολικό Εγχειρίδιο]
Αντώνης Παπαϊωάννου, Νικόλαος Χαραλαμπάκης
Τάξη:  Γ' Τεχνικού Λυκείου
Μάθημα:  Ηλεκτρολογία
Σχολικό εγχειρίδιο Ηλεκτρολογίας της Γ' Τεχνικού Λυκείων που περιέχει ασκήσεις μέτρησης συνεχούς και εναλλασσόμενου ρεύματος και εσωτερικών ηλεκτρικών εγκαταστάσεων.
[Σχολικό Εγχειρίδιο]
Σ. Κοντοράβδης
Τάξη:  Α' Τεχνικού και Επαγγελματικού Λυκείου
Μάθημα:  Ηλεκτρολογία
Σχολικό εγχειρίδιο Μηχανικής Α' Τεχνικού και Επαγγελματικού Λυκείου που αποσκοπεί στην παροχή τεχνικών γνώσεων στη χρήση των οργάνων και της συνδεσμολογίας κυκλωμάτων καθώς και στη δημιουργία τεχνικής ...
[Μαθητικό Βοήθημα]
Χρήστος Ε. Παπακίτσος
Τάξη:  Γ' Μέσων Τεχνικών - Επαγγελματικών Σχολών
Μάθημα:  Ηλεκτρονική
Μαθητικό βοήθημα της Γ ' τάξης Μέσων Τεχνικών και Επαγγελματικών Σχολών το οποίο αναφέρεται στις βασικές φυσικές αρχές της τηλεοπτικής τεχνικής. Στο βιβλίο περιγράφονται τα βασικά κυκλώματα και ποικίλες άλλες ...
[Σχολικό Εγχειρίδιο]
Γεώργιος Ι. Γαλιώτης, Απόστολος Π. Ατματζίδης
Τάξη:  Γ' Μέσων Τεχνικών - Επαγγελματικών Σχολών
Μάθημα:  Πληροφορική
Σχολικό εγχειρίδιο Επιστήμης Υπολογιστών Γ΄ Μέσων Τεχνικών και Επαγγελματικών Σχολών που περιλαμβάνει εισαγωγή στη δομή και λειτουργία των ψηφιακών και αναλογικών ηλεκτρονικών υπολογιστών.
[Σχολικό Εγχειρίδιο]
Π. Γ. Πετρόπουλος
Τάξη:  Γ' Τεχνικού Λυκείου
Σχολικό εγχειρίδιο Μηχανικής Γ' Τεχνικού Λυκείου. Παρουσιάζει την κατεργασία κοπής μετάλλου και των εργαλειομηχανών κοπής. Επίσης αναφέρεται στις μηχανουργικές μετρήσεις και τα μηχανουργικά υλικά, την οργάνωση
[Σχολικό Εγχειρίδιο]
Σταμάτης Ν. Παλαιοκρασσάς
Τάξη:  Γ' Μέσων Τεχνικών - Επαγγελματικών Σχολών
Μάθημα:  Ηλεκτρονική
Σχολικό εγχειρίδιο για τους μαθητές της Γ' τάξης των Μέσων Τεχνικών Επαγγελματικών Σχολών που παρουσιάζει τους βιομηχανικούς ηλεκτρονικούς αυτοματισμούς δίνοντας έμφαση στην περιγραφή των βασικών αρχών ...
[Σχολικό Εγχειρίδιο]
Χαράλαμπος Κανελλόπουλος
Τάξη:  Γ' Τεχνικού Λυκείου
Μάθημα:  Ηλεκτρονική
Σχολικό εγχειρίδιο Ηλεκτρονικής Γ' Τεχνικού Λυκείου που παρουσιάζει τα ηλεκτρονικά κυκλώματα και τη θεωρία τους δίνοντας ιδιαίτερη έμφαση στα κυκλώματα που βρίσκουν πρακτικές εφαρμογές
[Μαθητικό Βοήθημα]
Γεώργιος Κ. Κοκκινάκης
Τάξη:  Γ' Τεχνικού Λυκείου
Μαθητικό βοήθημα Γ' Τεχνικού Λυκείου. Το βιβλίο εισάγει τους μαθητές στη γνώση της τεχνικής των τηλεφωνικών κέντρων. Ξεκινά με μια εισαγωγή στην τηλεπικοινωνία και συνεχίζει με τις βασικές κατασκευαστικές ...