QR Code
03-20560382
Θ. Κουζέλης

Απαντήσεις επί των Θεμάτων Πτυχιακών Εξετάσεων Τεχνικών Βοηθών Εργοδηγών Μηχανουργικών Εγκαταστάσεων
[1970]

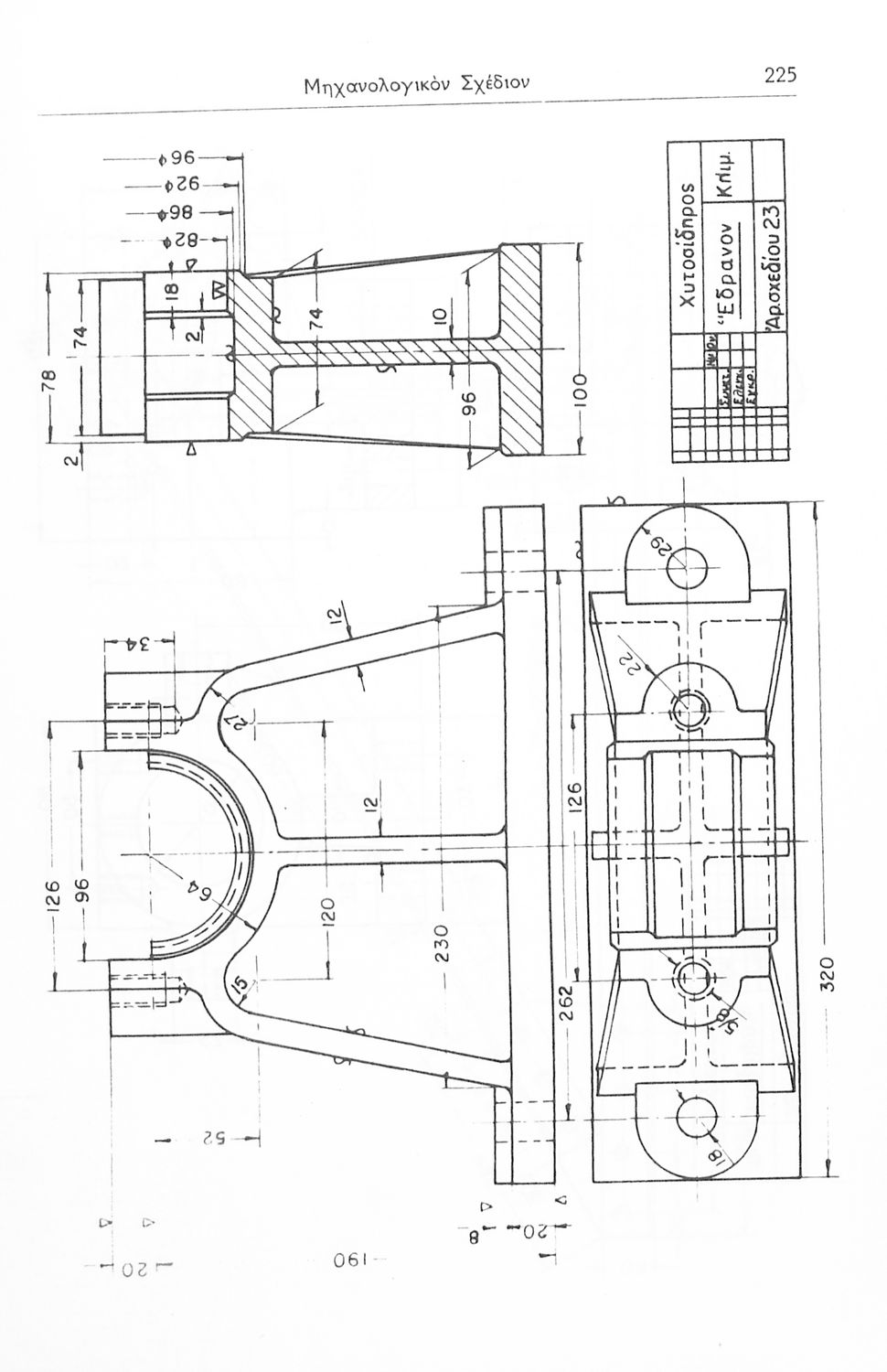
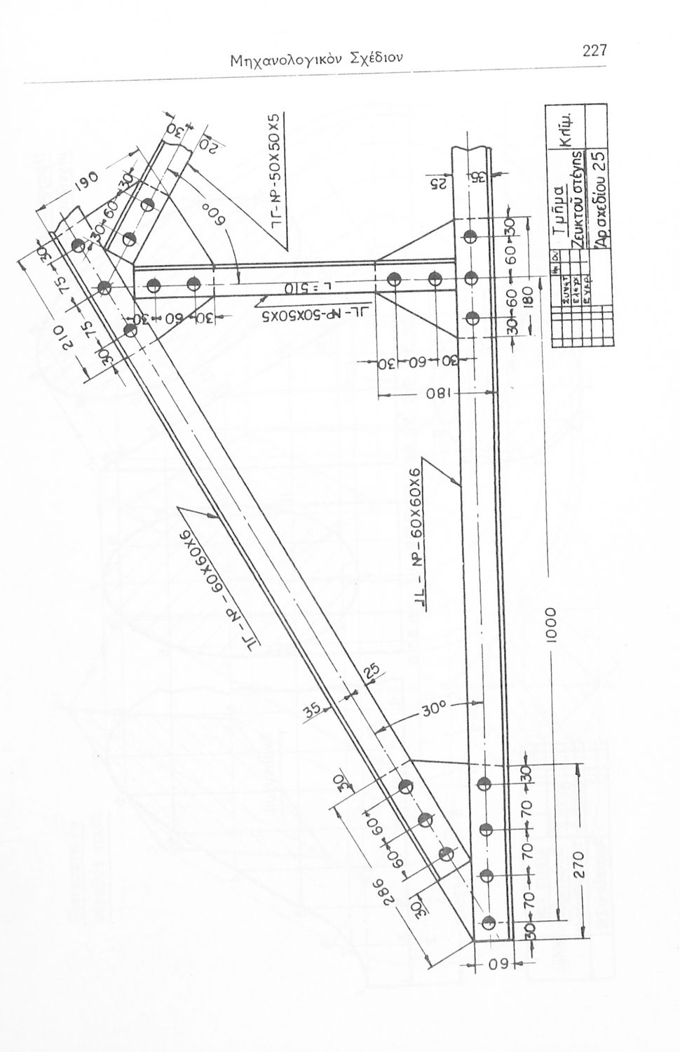
Μαθητικό βοήθημα Μηχανικής που περιέχει τις απαντήσεις των θεμάτων για τις πτυχιακές εξετάσεις των Σχολών Μηχανοτεχνιτών και εστιάζει στη μηχανική και την αντοχή των υλικών, την τεχνολογία των μηχανών και το μηχανολογικό σχέδιο.


TopΠΕΔΙΟ ΑΝΑΓΝΩΡΙΣΗΣ

Κωδικός αναγνώρισης: 03-20560382

Τίτλος: Απαντήσεις επί των Θεμάτων Πτυχιακών Εξετάσεων Τεχνικών Βοηθών Εργοδηγών Μηχανουργικών Εγκαταστάσεων

Συγγραφέας: Θ. Κουζέλης

Μέγεθος και υπόστρωμα: Μαθητικό βοήθημα, μαλακό εξώφυλλο, 232 σελίδες. Εικόνες, σκίτσα ασπρόμαυρα.

TopΠΕΔΙΟ ΠΕΡΙΕΧΟΜΕΝΟΥ

Βαθμίδα εκπαίδευσης: Δευτεροβάθμια

Τάξη: Σχολές Ηλεκτροτεχνιτών – Μηχανοτεχνιτών

Μάθημα: Μηχανική

Γλώσσα: Καθαρεύουσα

Παρουσίαση περιεχομένου: Μαθητικό βοήθημα Μηχανικής που περιέχει τις απαντήσεις των θεμάτων για τις πτυχιακές εξετάσεις των Σχολών Μηχανοτεχνιτών και εστιάζει στη μηχανική και την αντοχή των υλικών, την τεχνολογία των μηχανών και το μηχανολογικό σχέδιο.

TopΠΕΔΙΟ ΠΛΗΡΟΦΟΡΙΩΝ ΕΚΔΟΣΗΣ

Εκδότης: Ίδρυμα Ευγενίδου

Έτος έκδοσης: 1970

Τόπος έκδοσης: Αθήνα

Έτος έγκρισης: 1970

TopΠΕΔΙΟ ΠΑΡΑΤΗΡΗΣΕΩΝ

Εντοπισμός πρωτοτύπου: Βιβλιοθήκη της Βουλής των Ελλήνων

Κωδικός βιβλιοθήκης: 20560382

TopΕΥΡΕΤΗΡΙΟ ΘΕΜΑΤΙΚΩΝ ΟΡΩΝ

Σχετιζόμενα πρόσωπα:

Σχετιζόμενοι όροι:


236 εγγραφές [221 - 236]
Σελίδα #219
Σελίδα #220
Σελίδα #221
Σελίδα #222
Σελίδα #223
Σελίδα #224
Σελίδα #225
Σελίδα #226
Σελίδα #227
Σελίδα #228
Σελίδα #229
Σελίδα #230
Σελίδα #231
Σελίδα #232
Εξώφυλλο
Εξώφυλλο
  
[Μαθητικό Βοήθημα]
Θ. Κουζέλης
Τάξη:  Γυμνάσιο / Τεχνικές Σχολές Βοηθών Εργοδηγών Μηχανουργικών και Ηλεκτρικών Εγκαταστάσεων
Μαθητικό Βοήθημα για τις τάξεις του Γυμνασίου και τις Τεχνικές Σχολές Βοηθών Εργοδηγών Μηχανουργικών και Ηλεκτρικών Εγκαταστάσεων που περιέχει τις απαντήσεις των θεμάτων των πτυχιακών εξετάσεων για τη σχολή ...
[Μαθητικό Βοήθημα]
Θ. Κουζέλης
Τάξη:  Σχολές Βοηθών Εργοδηγών Ηλεκτρικών Εγκαταστάσεων
Μάθημα:  Μηχανική
Σχολικό εγχειρίδιο Μηχανικής και Ηλεκτροτεχνίας που περιέχει τα θέματα εξετάσεων για τις τεχνικές σχολές των βοηθών εργοδηγών ηλεκτρικών εγκαταστάσεων.
[Μαθητικό Βοήθημα]
Θ. Κουζέλης
Τάξη:  Σχολές Ηλεκτροτεχνιτών – Μηχανοτεχνιτών
Μάθημα:  Μηχανική
Μαθητικό βοήθημα Μηχανικής που περιέχει τις απαντήσεις των θεμάτων για τις πτυχιακές εξετάσεις των Σχολών Μηχανοτεχνιτών και εστιάζει στη μηχανική και την αντοχή των υλικών, την τεχνολογία των μηχανών και το ...
[Μαθητικό Βοήθημα]
Θ. Κουζέλης
Τάξη:  Σχολές Ηλεκτροτεχνιτών – Μηχανοτεχνιτών
Μαθητικό βοήθημα Μηχανικής-Ηλεκτροτεχνικής που περιέχει τις απαντήσεις των θεμάτων των πτυχιακών εξετάσεων για την τεχνική σχολή Ηλεκτροτεχνιτών και εστιάζει στη μηχανική και την αντοχή των υλικών, την ...
[Σχολικό Εγχειρίδιο]
Σώτος Γ. Κουντουριώτης
Τάξη:  Γ' Σχολών Τεχνικών Βοηθών - Εργοδηγών
Μάθημα:  Θρησκευτικά
Σχολικό εγχειρίδιο Θρησκευτικών για τη Γ΄ Γυμνασίου τεχνικών, βοηθών, εργοδηγών που περιέχει τη διδασκαλία της Εκκλησίας περί Θεού, χριστολογικές έριδες και τη σχέση θρησκείας και επιστήμης. Ο συγγραφέας ...
[Σχολικό Εγχειρίδιο]
Βασίλειος Ν. Τρουλλινός
Τάξη:  Επαγγελματικές Σχολές Τεχνικών Εργοδηγών Βοηθών Χημικών
Σχολικό εγχειρίδιο Τεχνολογίας Τροφίμων των Επαγγελματικών Σχολών Τεχνικών Εργοδηγών Βοηθών Μηχανικών. Στο πρώτο μέρος του βιβλίου εξετάζονται οι οργανικές και ανόργανες θρεπτικές ύλες, οι βιταμίνες και τα ...
[Παιδαγωγικό Βοήθημα]
Υπουργείο Εθνικής Παιδείας & Θρησκευμάτων
Τάξη:  Β' Λυκείου
Παιδαγωγικό βοήθημα Αρχαίων Ελληνικών Β΄ Λυκείου που είχε ως στόχο να βοηθήσει τους φιλολόγους στην κατάρτιση της διδακτέας ύλης και την επιλογή των κατάλληλων θεμάτων.
[Μαθητικό Βοήθημα]
Κ. Α. Σφαέλλος
Τάξη:  Γ' Γυμνασίου / Δ' Γυμνασίου / Ε' Γυμνασίου / Εμπορικές Σχολές
Μάθημα:  Νέα Ελληνικά
Μαθητικό βοήθημα Νέων Ελληνικών για τις Γ΄, Δ΄, Ε΄ Εξαταξίων Γυμνασίων και Εμπορικών Σχολών που περιλαμβάνει υποδείγματα εκθέσεων, περιγραφές, διηγήσεις, επιστολές, αναλύσεις λογοτεχνικών έργων, σχεδιαγράμματα
[Παιδαγωγικό Βοήθημα]
Υπουργείο Εθνικής Παιδείας & Θρησκευμάτων
Τάξη:  Β' Λυκείου
Παιδαγωγικό βοήθημα Αρχαίων Ελληνικών Β΄ Λυκείου που είχε ως στόχο να βοηθήσει τους φιλολόγους στην κατάρτιση της διδακτέας ύλης και την επιλογή των κατάλληλων θεμάτων.
[Παιδαγωγικό Βοήθημα]
Γ. Θ. Σακελλάριος
Παιδαγωγικό βοήθημα που αναφέρεται στη δημοκρατική μέθοδο εργασίας στο σχολείο, στο νέο είδος εξετάσεων, στις μετρήσεις και στατιστικές μεθόδους καθώς και στις πνευματικές και παιδευτικές μετρήσεις των ...