QR Code
03-20560385

Θέματα Πτυχιακών Εξετάσεων κατωτέρων σχολών Ηλεκτροτεχνιτών – Μηχανοτεχνιτών
[1969]

Σχολικό εγχειρίδιο Μηχανικής και Ηλεκτροτεχνίας που περιέχει τα θέματα εξετάσεων για τις τεχνικές σχολές των Ηλεκτροτεχνιτών και των Μηχανοτεχνιτών.


TopΠΕΔΙΟ ΑΝΑΓΝΩΡΙΣΗΣ

Κωδικός αναγνώρισης: 03-20560385

Τίτλος: Θέματα Πτυχιακών Εξετάσεων κατωτέρων σχολών Ηλεκτροτεχνιτών – Μηχανοτεχνιτών

Μέγεθος και υπόστρωμα: Σχολικό εγχειρίδιο, μαλακό εξώφυλλο, 140 σελίδες. Εικόνες, σκίτσα ασπρόμαυρα.

TopΠΕΔΙΟ ΠΕΡΙΕΧΟΜΕΝΟΥ

Βαθμίδα εκπαίδευσης: Δευτεροβάθμια

Τάξη: Σχολές Ηλεκτροτεχνιτών – Μηχανοτεχνιτών

Μάθημα: Μηχανική

Γλώσσα: Καθαρεύουσα

Παρουσίαση περιεχομένου: Σχολικό εγχειρίδιο Μηχανικής και Ηλεκτροτεχνίας που περιέχει τα θέματα εξετάσεων για τις τεχνικές σχολές των Ηλεκτροτεχνιτών και των Μηχανοτεχνιτών.

TopΠΕΔΙΟ ΠΛΗΡΟΦΟΡΙΩΝ ΕΚΔΟΣΗΣ

Εκδότης: Ίδρυμα Ευγενίδου

Έτος έκδοσης: 1969

Τόπος έκδοσης: Αθήνα

Έτος έγκρισης: 1969

TopΠΕΔΙΟ ΠΑΡΑΤΗΡΗΣΕΩΝ

Εντοπισμός πρωτοτύπου: Βιβλιοθήκη της Βουλής των Ελλήνων

Κωδικός βιβλιοθήκης: 20560385

TopΕΥΡΕΤΗΡΙΟ ΘΕΜΑΤΙΚΩΝ ΟΡΩΝ

Σχετιζόμενοι όροι:


144 εγγραφές [101 - 120]
Σελίδα #099
Σελίδα #100
Σελίδα #101
Σελίδα #102
Σελίδα #103
Σελίδα #104
Σελίδα #105
Σελίδα #106
Σελίδα #107
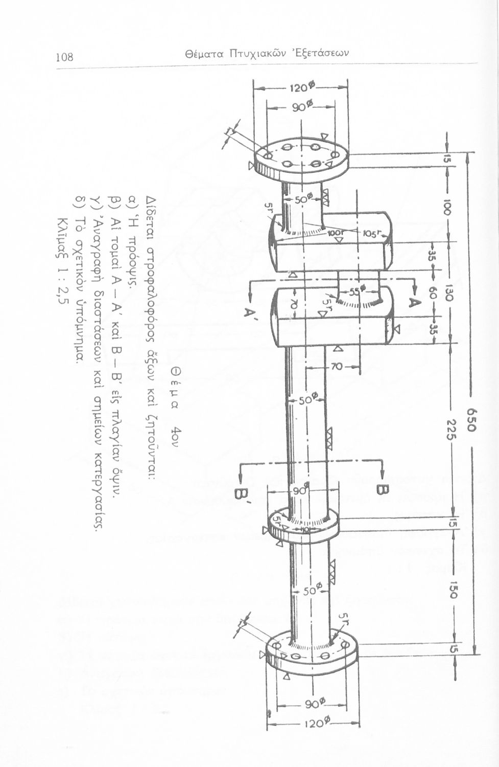
Σελίδα #108
Σελίδα #109
Σελίδα #110
Σελίδα #111
Σελίδα #112
Σελίδα #113
Σελίδα #114
Σελίδα #115
Σελίδα #116
Σελίδα #117
Σελίδα #118
Σελίδα #119
Σελίδα #120
Σελίδα #121
Σελίδα #122
[Μαθητικό Βοήθημα]
Θ. Κουζέλης
Τάξη:  Σχολές Ηλεκτροτεχνιτών – Μηχανοτεχνιτών
Μάθημα:  Μηχανική
Μαθητικό βοήθημα Μηχανικής που περιέχει τις απαντήσεις των θεμάτων για τις πτυχιακές εξετάσεις των Σχολών Μηχανοτεχνιτών και εστιάζει στη μηχανική και την αντοχή των υλικών, την τεχνολογία των μηχανών και το ...
[Μαθητικό Βοήθημα]
Θ. Κουζέλης
Τάξη:  Σχολές Ηλεκτροτεχνιτών – Μηχανοτεχνιτών
Μάθημα:  Μηχανική
Μαθητικό βοήθημα Μηχανικής που περιέχει τις απαντήσεις των θεμάτων για τις πτυχιακές εξετάσεις των Σχολών Μηχανοτεχνιτών και εστιάζει στη μηχανική και την αντοχή των υλικών, την τεχνολογία των μηχανών και το ...
[Μαθητικό Βοήθημα]
Θ. Κουζέλης
Τάξη:  Σχολές Ηλεκτροτεχνιτών – Μηχανοτεχνιτών
Μαθητικό βοήθημα Μηχανικής-Ηλεκτροτεχνικής που περιέχει τις απαντήσεις των θεμάτων των πτυχιακών εξετάσεων για την τεχνική σχολή Ηλεκτροτεχνιτών και εστιάζει στη μηχανική και την αντοχή των υλικών, την ...
[Μαθητικό Βοήθημα]
Θ. Κουζέλης
Τάξη:  Σχολές Βοηθών Εργοδηγών Ηλεκτρικών Εγκαταστάσεων
Μάθημα:  Μηχανική
Σχολικό εγχειρίδιο Μηχανικής και Ηλεκτροτεχνίας που περιέχει τα θέματα εξετάσεων για τις τεχνικές σχολές των βοηθών εργοδηγών ηλεκτρικών εγκαταστάσεων.
[Μαθητικό Βοήθημα]
Κ. Α. Σφαέλλος
Τάξη:  Γ' Γυμνασίου / Δ' Γυμνασίου / Ε' Γυμνασίου / Εμπορικές Σχολές
Μάθημα:  Νέα Ελληνικά
Μαθητικό βοήθημα Νέων Ελληνικών για τις Γ΄, Δ΄, Ε΄ Εξαταξίων Γυμνασίων και Εμπορικών Σχολών που περιλαμβάνει υποδείγματα εκθέσεων, περιγραφές, διηγήσεις, επιστολές, αναλύσεις λογοτεχνικών έργων, σχεδιαγράμματα
[Σχολικό Εγχειρίδιο]
Πέτρος Στ. Παπαδέας
Τάξη:  Επαγγελματικές και Τεχνικές Σχολές
Μάθημα:  Νέα Ελληνικά
Σχολικό εγχειρίδιο Νέων ελληνικών για τις Τεχνικές και Επαγγελματικές Σχολές που περιέχει πεζά και ποιήματα νέων και αρχαίων Ελλήνων συγγραφέων με θέματα από την αρχαία ελληνική ιστορία και μυθολογία, την ...
[Σχολικό Εγχειρίδιο]
Θεόδωρος Γ. Κύπριος
Τάξη:  Α΄ Μέσων Πενταταξίων Εμπορικών Σχολών
Μάθημα:  Γαλλικά
Σχετιζόμενοι όροι:  Grammaire, lectures, verbes
Σχολικό εγχειρίδιο Γαλλικών για τις Εμπορικές Σχολές που περιέχει τους βασικούς κανόνες γραμματικής, συντακτικού και λεξιλογίου, κείμενα που αντλούν τα θέματά τους από την ύπαιθρο και την οικογενειακή και ...
[Σχολικό Εγχειρίδιο]
Ευαγ. Π. Φωτιάδης, Ηλ. Π. Μηνιάτης, Γ. Μέγας, Δ. Οικονομίδης, Θ. Παρασκευόπουλος
Τάξη:  ΣΤ' Δημοτικού
Μάθημα:  Νέα Ελληνικά
Αναγνωστικό ΣΤ΄ Δημοτικού που αντλεί τα θέματά του από τη θρησκευτική, εθνική, οικογενειακή, κοινωνική και επαγγελματική ζωή και την σύγχρονη ελληνική ιστορία.
[Μαθητικό Βοήθημα]
Σαλτερής Γ. Περιστεράκης
Τάξη:  Γ' Γυμνασίου
Μάθημα:  Φυσική
Μαθητικό βοήθημα Φυσικής για τους υποψηφίων των εισαγωγικών εξετάσεων των Ανωτάτων Σχολών και τους μαθητές των ανωτέρων τάξεων των Σχολείων Μέσης Εκπαιδεύσεως. Το βιβλίο προσφέρει μια γενική εικόνα των ...
[Σχολικό Εγχειρίδιο]
Βασίλειος Γ. Βαλαώρας
Τάξη:  Β' Μέσων Τεχνικών – Επαγγελματικών Σχολών
Μάθημα:  Υγιεινή
Σχολικό εγχειρίδιο Υγιεινής για τους μαθητές της Β' Μέσων Τεχνικών Επαγγελματικών Σχολών που πραγματεύεται τους περιβαλλοντολογικούς και κοινωνικούς παράγοντες που επηρεάζουν την υγεία των ανθρώπων.